Površinska pumpa Gileks - ovo je oprema za crpljenje vode iz bunara i bunara dubine ne veće od 9 metara. Napravljen je da radi besprekorno u svim vremenskim uslovima. Odlikuje se kvalitetom izrade, visokim performansama, pogodan za sisteme vodosnabdevanja kod kuće, vikendice, navodnjavanje, kao i povećanje pritiska u sistemima niskog pritiska.

Dobro uspostavljeni sistemi vodosnabdijevanja i kanalizacije poboljšavaju život ljudi. Voda se široko koristi u svakodnevnom životu, u proizvodnji. Zbog toga se redovno, neprekidno snabdevanje mora odvijati brzo i bezbedno.
Površinske pumpe Dzhileks obezbijediti ovaj proces. Inženjeri kompanije koriste nove materijale i najnovije tehnologije za poboljšanje tehničkih karakteristika i funkcija proizvedenih uređaja.
Površinska pumpa koristi se za dovod bistre tečnosti. Koristi se za rad sistema grijanja ili navodnjavanje zemljišta. Uslov za nesmetan rad opreme je čistoća tečnosti koja prolazi kroz nju. Ne smije sadržavati strane nečistoće ili prašnjave frakcije.
Prije kupovine Gilex pumpa, procjena potreba:
Specifikacije svima Gilex pumpa jedinstven. Razlikuju se po performansama, namjeni. Govorimo o pritisku (nivou na kojem se tečnost diže), performansama, kvaliteti izrade. Ovi pokazatelji, zajedno sa snagom motora, utječu na performanse pumpi, njihovu izdržljivost.
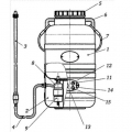
Model površine injektiranja povećava pritisak u cjevovodu, koji je odgovoran za kretanje vode kroz njega. Oprema je kompaktnog, ergonomskog dizajna, sastoji se od sljedećih elemenata:
Uz pomoć otvora koji se nalazi u kućištu, osigurano je hlađenje unutrašnjih komponenti uređaja. Ako će uređaj raditi za navodnjavanje lokacije, morate osigurati da je ova rupa stalno otvorena. Zatvaranje će uzrokovati pregrijavanje i lomljenje uređaja.
Zbog dizajna i minimiziranja broja korištenih elemenata površinske električne pumpe Gileks teže od drugih marki. Sa ovom opremom lako je organizovati brzo pumpanje vode za zalivanje povrtnjaka ili bašte bez trošenja energetskih resursa. Ranije stručnjaci preporučuju povezivanje tehničkih karakteristika određenog uređaja s mogućnostima električne mreže, gdje će se koristiti u budućnosti.

Prilikom odabira površine, vrijedi analizirati karakteristike opreme, dimenzije, težinu, pravila održavanja. Ovo će učiniti izbor efikasnim. Da biste to pojednostavili, morate se koncentrirati na najpopularnije modele:
Ako trebaš površinska pumpa Gileks 70 50, karakteristike i funkcije su naznačene na odgovarajućoj stranici službene web stranice kompanije. Osim toga, možete naručiti besplatne konsultacije sa menadžerima korisničke službe.
Gilex pumpa sposoban za stvaranje pritisak, što će vam omogućiti udobno korištenje cjevovoda bez dodatne opreme. Istovremeno, važno je uzeti u obzir uslove rada ovog uređaja. Ako ih ne možete obezbijediti, morate kupiti druge modele:
Dijagram pumpe Dzhileks jednostavno. Čak i početnik može povezati uređaje na cjevovod. Glavna stvar je odabrati pravu snagu motora, jer ovaj pokazatelj najviše utječe na kvalitetu rada. Na primjer, pumpa od 600 W dovoljna je za navodnjavanje male površine ili dovod vode u ljetnikovac. A da biste osigurali kuću s dvije ili više točaka potrošnje vode, potrebno vam je od 1 kW.

Povezivanje Gilex pumpe, održavanje, rad - proces koji zahtijeva minimalnu ljudsku intervenciju. Za efikasan rad opreme dovoljno je obezbediti preporučene uslove, pravilno izračunati tehničke karakteristike uređaja za određeni zadatak.